泛微数字化合规管理,助力组织健全管理体系,持续健康发展

标签:
低代码构建 |
分类: 数字化 |
https://p26.toutiaoimg.com/origin/tos-cn-i-qvj2lq49k0/50444938f9534a7280fed12cb78d3cda?from=pc
合规管理,是指以有效防控合规风险为目的,以企业和员工经营管理行为为对象,开展包括制度制定、风险识别、合规审查、风险应对、责任追究、考核评价、合规培训等有组织、有计划的管理活动。
国资委《 关于印发《中央企业合规管理指引(试行)》的通知》中要求组织建立健全“全面覆盖、强化责任、协同联动、客观独立”的合规管理体系。
(图源网络,侵删)
泛微数字化运营平台持续提供低代码平台和七大引擎,覆盖全组织、全业务链条、全过程场景的数字化应用,为各行各业的组织形成了数字化的合规管理体系。
围绕合规管理制度、合规风险识别预警机制、合规风险应对、合规审查机制、合规管理评估、合规文化建设等内容;
覆盖制度制定、经营决策、生产运营等各环节,融入组织合同签署、采购下单、费用报销等众多工作业务场景,为大型集团、金融行业、制造行业等各行各业客户的持续健康发展保驾护航。
(一站式合规门户)
泛微数字化合规管理方案亮点
一、合规知识库
将外部法律法规、内部制度业务模块、业务线涉及风险点关联起来。随时为业务开展提供法律咨询服务。
(法律法规库)
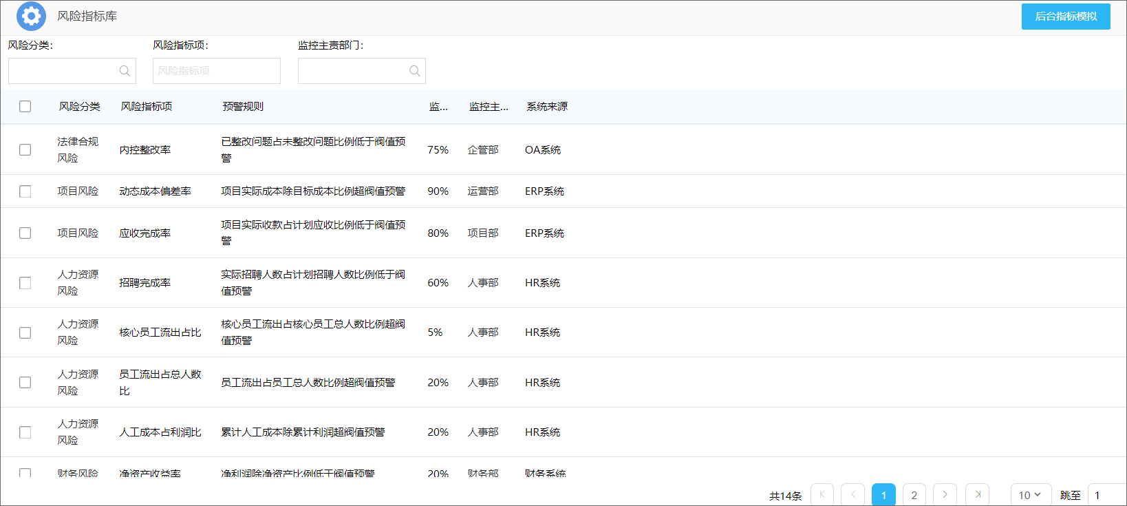
二、合规风险识别预警
通过全面梳理各大与OA系统集成的其他系统中存在的合规风险,对风险发生的可能性、影响程度、潜在后果等进行系统分析,对于典型性、普遍性和可能产生较严重后果的风险及时发布预警。
例如人事风险、员工行为监测、供应商工商信息监测、项目风险等。
(风险指标库)
三、合规事件快速上报
合规管理的核心,主要是专项合规事件上报,自动流转至相关责任部门进行快速处置,形成上报、处置、整改、监控全周期闭环管理。
泛微将包括合规事件上报、事件库、法律法规库等数据统一展现;各类型合规事件上报处置情况一览;各类别法律法规库;组织相关合规管理报告以及关键数据、报表等,按类别划分,便捷查阅。
(合规事件库)
通过合规事件上报流程快速获取事件信息,通过选择不同的合规事件类别,流程会根据权责进行自动流转。
通过一条流程不同节点配置不同表单信息,就可以实现一条合规事件上报流程贯穿合规事件的收集、处置、完成、整改的闭环管理,全过程可追溯。
四、合规审查数字化
组织需要对其本身的经营管理和人员执业行为的合规性进行审查,对公司内部管理制度、重大决策、新产品、新业务方案等进行审查。
在组织重大决策中,泛微数字化“三重一大”监督管理平台,落地了规则指定、评估、预警、追责的全程体系。
(三重一大)
对于制度、事项、议事的合规标准审核:
对于制度覆盖范围、制度实施办法、重大事项认定和执行、事项执行中的风险进行规范、预警。
“决策分析,三重一大”事项决策运行的全面信息掌控:
提供决策制度数量统计、事项清单数量统计、决策会议折线图统计、决策议题柱状图统计、异常情况数目统计等。
实时记录每一项具体决策事项的产生和决策过程,实现数据透明和全程追溯的运行机制,决策主体更加明确、权责更加清晰、程序更加规范、监管更加有效。
(决策看板)
五、合规报告
组织合规事务负责人需要对合规风险事件、合规风险隐患、合规管理基本情况、合规总监履职情况、合规管理有效性评估等事项向规定主体进行定期或不定期报告。
(合规报告)
六、合规报表
通过多维度数据与报表实现对合规管理数据分析,可根据使用习惯自定义相应管理报表。
为管理者多维度、可视化、图形化地展示组织风控合规管理水平,对核心风险数据进行有效预警提醒。
合规管理成果的全面展现,从类型、时间、分子公司、部门多个维度的分析,支持自定义各种图表进行展现,便于相关决策分析需要。
(合规报表)
泛微数字化合规管理系统应用场景
1、合同内容合规
合同起草完成后,根据合同类型,智能预测审批环节和人员,明确各岗位职责。
合同审批中,通过智能协同助手自动关联审批要点数据,与合同相关的预算信息、预付款信息、价格信息、相对方资信、历史合同信息等,立体展现,自动审核,帮助快速决策。
(合规检测)
2、财务合规
财务合规:智能合规检查可辅助用户在报销审批时,根据各项合规指标自动进行合规检查,识别潜在风险,辅助决策审批.
支持根据既定业务规则对合同付款事项进行自动合规检测,同时可依据预算数据与资金计划对合同付款进行管控。
(合规检测)
发票合规:发票录入支持全票数据进行合规校验,减少费用报销风险。
3、人事合规
泛微的人事管理平台可以结合智能的风控模型,对接风险合规管理模块,自动从系统内部或其他异构系统中抓取数据,如考勤情况、工作状态等,智能识别出人员的异动风险,形成人员的风险识别库。
同时通过人员背调等方式,确保组织内人员合规,若是有风险自动推送至管理层的门户上,进行提醒与预警。
(人员异动提醒)
4、采购合规
供应商准入合规化,通过与第三方资信平台对接,自动识别供应商风险,并推送至门户;实时获取供应商的工商信息、经营异常、行政处罚、诉讼等信息,实时提醒与预警供应商风险。
(供应商资质管理)
典型行业应用
1、商业银行合规管理
商业银行“合规管理”是对法律、法规及相关条例等规定的银行合规风险(比如:防洗钱、客户隐私及数据安全以及商业操守等)进行“识别、评估、监控、报告”的过程。
泛微数字化运营平台围绕商业银行“合规管理”要求,通过上下贯通的流程体系,在一个平台实现合规材料上报、评估、整改、统计分析全面数字化管理。
(商业银行数字化合规管理平台应用体系)
↓ 点击文字,查看合规管理详细方案:
商业银行合规管理用OA:“上报、评估、整改、分析”全面数字化
2、医药制造企业
药品质量是医药行业的命门,从生产工艺、过程、设备到管理系统都有严格规定。不仅要遵守国际药品生产质量管理规范(GMP)和药品经营质量管理规范( GSP ),信息管理系统还要进行标准的CSV认证。
泛微围绕药品生产、经营过程,通过低代码构建平台打造集“基础管理+特色应用拓展”于一体的办公平台,从“研发、生产到销售”全面优化药品质量。
泛微按照GMP、GSP规范为企业定制灵活的流程体系,和ERP的高效集成,从IT设备、物料都有一体化的管理流程,而且每条流程都有CSV接口认证,执行、使用更放心。
↓ 点击文字,查看医药合规管理详细方案:
医药行业用泛微实现GMP&GSP合规管理:制药放心、管理省心
价值总结:
在实际工作中,风险、内控、合规三者是一体的,三者相互配合相互贯通,方能铸成组织的“防火墙”。
泛微风控管理应用的核心是助力企业建立统一的全面风险、内控、合规管理一体化平台,实现风控管理体系在系统中的落地,通过不同视角,将风控体系相关信息、数据、应用进行智能聚合展现,并且融入法务、案件、诉讼管理等功能,根据组织实际,可分可合,按权限使用,一体化管理。
泛微风控、内控、合规管理相关详细方案阅读:
合同签署前、履行中面临的这些风险挑战,泛微为您有效防范和规避!