加载中…
个人资料
  • 博客等级:
  • 博客积分:
  • 博客访问:
  • 关注人气:
  • 获赠金笔:0支
  • 赠出金笔:0支
  • 荣誉徽章:
正文 字体大小:

高斯平面直角坐标系 (高斯-克吕格(Gauss-Kruger)投影与UTM投影)

(2011-03-08 17:15:33)
标签:

杂谈

分类: 气象与遥感

 大地坐标系是大地测量的基本坐标系。常用于大地问题的细算,研究地球形状和大小,编制地图,火箭和卫星发射及军事方面的定位及运算,若将其直接用于工程建设规划、设计、施工等很不方便。所以要将球面上的大地坐标按一定数学法则归算到平面上,即采用地图投影的理论绘制地形图,才能用于规划建设。

        椭球体面是一个不可直接展开的曲面,故将椭球体面上的元素按一定条件投影到平面上,总会产生变形。测量上常以投影变形不影响工程要求为条件选择投影方法。地图投影有等角投影、等面积投影和任意投影三种。
其中等角投影又称为正形投影,它保证在椭球体面上的微分图形投影到平面后将保持相似。这是地形图的基本要求。正形投影有两个基本条件:
①保角条件,即投影后角度大小不变。
②长度变形固定性,即长度投影后会变形,但是在一点上各个方向的微分线段变形比m是个常数k:     
http://images.cnblogs.com/cnblogs_com/xiaoyao128/k.gif(高斯-克吕格(Gauss-Kruger)投影与UTM投影)" TITLE="高斯平面直角坐标系 (高斯-克吕格(Gauss-Kruger)投影与UTM投影)" />     式中:ds—投影后的长度,dS—球面上的长度。


1.高斯投影的概念
        高斯是德国杰出的数学家、测量学家。他提出的横椭圆柱投影是一种正形投影。它是将一个横椭圆柱套在地球椭球体上,如下图所示:
http://images.cnblogs.com/cnblogs_com/xiaoyao128/gaosi.gif(高斯-克吕格(Gauss-Kruger)投影与UTM投影)" TITLE="高斯平面直角坐标系 (高斯-克吕格(Gauss-Kruger)投影与UTM投影)" />
椭球体中心O在椭圆柱中心轴上,椭球体南北极与椭圆柱相切,并使某一子午线与椭圆柱相切。此子午线称中央子午线。然后将椭球体面上的点、线按正形投影条件投影到椭圆柱上,再沿椭圆柱N、S点母线割开,并展成平面,即成为高斯投影平面。在此平面上:
        ①中央子午线是直线,其长度不变形,离开中央子午线的其他子午线是弧形,凹向中央子午线。离开中央子午线越远,变形越大。
        ②投影后赤道是一条直线,赤道与中央子午线保持正交。
        ③离开赤道的纬线是弧线,凸向赤道。
       
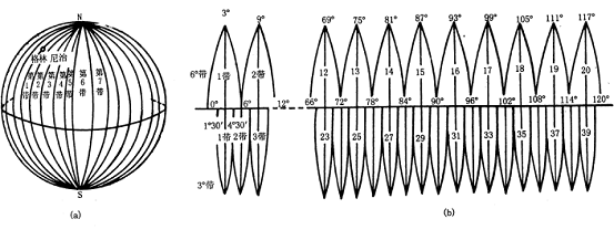
高斯投影可以将椭球面变成平面,但是离开中央子午线越远变形越大,这种变形将会影响测图和施工精度。为了对长度变形加以控制,测量中采用了限制投影宽度的方法,即将投影区域限制在靠近中央子午线的两侧狭长地带。这种方法称为分带投影。投影带宽度是以相邻两个子午线的经差来划分。有6°带、3°带等不同投影方法。
        6°带投影是从英国格林尼治子午线开始,自西向东,每隔6°投影一次。这样将椭球分成60个带,编号为1~60带,如下图所示:
http://images.cnblogs.com/cnblogs_com/xiaoyao128/gaosi2.gif(高斯-克吕格(Gauss-Kruger)投影与UTM投影)" TITLE="高斯平面直角坐标系 (高斯-克吕格(Gauss-Kruger)投影与UTM投影)" />
各带中央子午线经度(L)可用下式计算:
http://images.cnblogs.com/cnblogs_com/xiaoyao128/l6.gif(高斯-克吕格(Gauss-Kruger)投影与UTM投影)" TITLE="高斯平面直角坐标系 (高斯-克吕格(Gauss-Kruger)投影与UTM投影)" />        式中n为6°带的带号。
                 
已知某点大地经度L,可按下式计算该点所属的带号:
http://images.cnblogs.com/cnblogs_com/xiaoyao128/l3.gif(高斯-克吕格(Gauss-Kruger)投影与UTM投影)" TITLE="高斯平面直角坐标系 (高斯-克吕格(Gauss-Kruger)投影与UTM投影)" />          有余数时,为n的整数商+1。
        3°带是在6°带基础上划分的,其中央子午线在奇数带时与6°带中央子午线重合,每隔3°为一带,共120带,各带中央子午线经度(L)为:
http://images.cnblogs.com/cnblogs_com/xiaoyao128/l03.gif(高斯-克吕格(Gauss-Kruger)投影与UTM投影)" TITLE="高斯平面直角坐标系 (高斯-克吕格(Gauss-Kruger)投影与UTM投影)" />         式中n′为3°带的带号。

我国幅员辽阔,含有11个6°带,即从13~23带(中央子午线从75°~135°),21个3°带,从25~45带。北京位于6°带的第20带,中央子午线经度为117°。

 2.高斯平面直角坐标系

根据高斯投影的特点,以赤道和中央子午线的交点为坐标原点。,中央子午线方向为x轴,北方向为正。赤道投影线为y轴,东方向为正。象限按顺时针Ⅰ、Ⅱ、Ⅲ、Ⅳ排列,如下图所示:
http://images.cnblogs.com/cnblogs_com/xiaoyao128/gp.gif(高斯-克吕格(Gauss-Kruger)投影与UTM投影)" TITLE="高斯平面直角坐标系 (高斯-克吕格(Gauss-Kruger)投影与UTM投影)" />
在同一投影带内y值有正有负。这对计算和使用很不方便。为了使y值都为正,将纵坐标轴西移500km,并在y坐标前面冠以带号,如在第20带,中央子午线以西P点:
http://images.cnblogs.com/cnblogs_com/xiaoyao128/xy.JPG(高斯-克吕格(Gauss-Kruger)投影与UTM投影)" TITLE="高斯平面直角坐标系 (高斯-克吕格(Gauss-Kruger)投影与UTM投影)" />
        在20带中高斯直角坐标为:
http://images.cnblogs.com/cnblogs_com/xiaoyao128/xy2.JPG(高斯-克吕格(Gauss-Kruger)投影与UTM投影)" TITLE="高斯平面直角坐标系 (高斯-克吕格(Gauss-Kruger)投影与UTM投影)" />
        高斯直角坐标系与数学中的笛卡尔坐标系不同,如下图所示:
http://images.cnblogs.com/cnblogs_com/xiaoyao128/gd.gif(高斯-克吕格(Gauss-Kruger)投影与UTM投影)" TITLE="高斯平面直角坐标系 (高斯-克吕格(Gauss-Kruger)投影与UTM投影)" />
高斯直角坐标系纵坐标为x轴,横坐标为y轴。坐标象限为顺时针划分四个象限。角度起算是从x轴的北方向开始,顺时针计算。这些定义都与数学中的定义不同。这样的做法是为了将数学上的三角和解析几何公式直接用到测量的计算上。

》》》》》》》》》》》》》》》》》》》》》

1、首先理解地理坐标系(Geographic coordinate system),Geographic coordinate system直译为
地理坐标系统,是以经纬度为地图的存储单位的。很明显,Geographic coordinate syst
em是球面坐标系统。我们要将地球上的数字化信息存放到球面坐标系统上,如何进行操作
呢?地球是一个不规则的椭球,如何将数据信息以科学的方法存放到椭球上?这必然要求
我们找到这样的一个椭球体。这样的椭球体具有特点:可以量化计算的。具有长半轴,短
半轴,偏心率。以下几行便是Krasovsky_1940椭球及其相应参数。
Spheroid: Krasovsky_1940
Semimajor Axis: 6378245.000000000000000000
Semiminor Axis: 6356863.018773047300000000
Inverse Flattening(扁率): 298.300000000000010000
然而有了这个椭球体以后还不够,还需要一个大地基准面将这个椭球定位。在坐标系统描
述中,可以看到有这么一行:
Datum: D_Beijing_1954
表示,大地基准面是D_Beijing_1954。
--------------------------------------------------------------------------------
有了Spheroid和Datum两个基本条件,地理坐标系统便可以使用。
完整参数:
Alias:
Abbreviation:
Remarks:
Angular Unit: Degree (0.017453292519943299)
Prime Meridian(起始经度): Greenwich (0.000000000000000000)
Datum(大地基准面): D_Beijing_1954
Spheroid(参考椭球体): Krasovsky_1940
Semimajor Axis: 6378245.000000000000000000
Semiminor Axis: 6356863.018773047300000000
Inverse Flattening: 298.300000000000010000
­
2、接下来便是Projection coordinate system(投影坐标系统),首先看看投影坐
标系统中的一些参数。
Projection: Gauss_Kruger
Parameters:
False_Easting: 500000.000000
False_Northing: 0.000000
Central_Meridian: 117.000000
Scale_Factor: 1.000000
Latitude_Of_Origin: 0.000000
Linear Unit: Meter (1.000000)
Geographic Coordinate System:
Name: GCS_Beijing_1954
Alias:
Abbreviation:
Remarks:
Angular Unit: Degree (0.017453292519943299)
Prime Meridian: Greenwich (0.000000000000000000)
Datum: D_Beijing_1954
Spheroid: Krasovsky_1940
Semimajor Axis: 6378245.000000000000000000
Semiminor Axis: 6356863.018773047300000000
Inverse Flattening: 298.300000000000010000
从参数中可以看出,每一个投影坐标系统都必定会有Geographic Coordinate System。
投影坐标系统,实质上便是平面坐标系统,其地图单位通常为米。
那么为什么投影坐标系统中要存在坐标系统的参数呢?
这时候,又要说明一下投影的意义:将球面坐标转化为平面坐标的过程便称为投影。
好了,投影的条件就出来了:
a、球面坐标
b、转化过程(也就是算法)
也就是说,要得到投影坐标就必须得有一个“拿来”投影的球面坐标,然后才能使用算法
去投影!
即每一个投影坐标系统都必须要求有Geographic Coordinate System参数。
3、关于北京54和西安80是我们使用最多的坐标系
        先简单介绍高斯-克吕格投影的基本知识,了解就直接跳过,我国大中比例尺地图均采用高斯-克吕格投影,其通常是按6度和3度分带投影,1:2.5万-1:50万比例尺地形图采用经差6度分带,1:1万比例尺的地形图采用经差3度分带。具体分带法是:6度分带从本初子午线开始,按经差6度为一个投影带自西向东划分,全球共分60个投影带,带号分别为1-60;3度投影带是从东经1度30秒经线开始,按经差3度为一个投影带自西向东划分,全球共分120个投影带。为了便于地形图的测量作业,在高斯-克吕格投影带内布置了平面直角坐标系统,具体方法是,规定中央经线为X轴,赤道为Y轴,中央经线与赤道交点为坐标原点,x值在北半球为正,南半球为负,y值在中央经线以东为正,中央经线以西为负。由于我国疆域均在北半球,x值均为正值,为了避免y值出现负值,规定各投影带的坐标纵轴均西移500km,中央经线上原横坐标值由0变为500km。为了方便带间点位的区分,可以在每个点位横坐标y值的百千米位数前加上所在带号,如20带内A点的坐标可以表示为YA=20 745 921.8m。
    在Coordinate Systems\Projected Coordinate Systems\Gauss Kruger\Beijing 1954目录中,我们可以看到四种不同的命名方式:    Beijing 1954 3 Degree GK CM 75E.prj
    Beijing 1954 3 Degree GK Zone 25.prj
    Beijing 1954 GK Zone 13.prj
    Beijing 1954 GK Zone 13N.prj    对它们的说明分别如下:    三度分带法的北京54坐标系,中央经线在东75度的分带坐标,横坐标前不加带号
    三度分带法的北京54坐标系,中央经线在东75度的分带坐标,横坐标前加带号
    六度分带法的北京54坐标系,分带号为13,横坐标前加带号
    六度分带法的北京54坐标系,分带号为13,横坐标前不加带号    在Coordinate Systems\Projected Coordinate Systems\Gauss Kruger\Xian 1980目录中,文件命名方式又有所变化:    Xian 1980 3 Degree GK CM 75E.prj
    Xian 1980 3 Degree GK Zone 25.prj
    Xian 1980 GK CM 75E.prj
    Xian 1980 GK Zone 13.prj    西安80坐标文件的命名方式、含义和北京54前两个坐标相同,但没有出现“带号+N”这种形式,为什么没有采用统一的命名方式?让人看了有些费解。

高斯-克吕格(Gauss-Kruger)投影与UTM投影(Universal Transverse Mercator,通用横轴墨卡托投影)都是横轴墨卡托投影的变种,目前一些国外的软件或国外进口仪器的配套软件往往不支持高斯-克吕格投影,但支持UTM投影,因此常有把UTM投影当作高斯-克吕格投影的现象。从投影几何方式看,高斯-克吕格投影是 “等角横切圆柱投影”,投影后中央经线保持长度不变,即比例系数为1;UTM投影是“等角横轴割圆柱投影”,圆柱割地球于南纬80度、北纬84度两条等高圈,投影后两条割线上没有变形,中央经线上长度比0.9996。从计算结果看,两者主要差别在比例因子上,高斯-克吕格投影中央经线上的比例系数为1, UTM投影为0.9996,高斯-克吕格投影与UTM投影可近似采用 X[UTM]=0.9996 * X[高斯],Y[UTM]=0.9996 * Y[高斯],进行坐标转换(注意:如坐标纵轴西移了500000米,转换时必须将Y值减去500000乘上比例因子后再加500000)。从分带方式看,两者的分带起点不同,高斯-克吕格投影自0度子午线起每隔经差6度自西向东分带,第1带的中央经度为3°;UTM投影自西经180°起每隔经差6度自西向东分带,第1带的中央经度为-177°,因此高斯-克吕格投影的第1带是UTM的第31带。此外,两投影的东伪偏移都是500公里,高斯-克吕格投影北伪偏移为零,UTM北半球投影北伪偏移为零,南半球则为10000公里。
高斯-克吕格投影与UTM投影坐标系
高斯- 克吕格投影与UTM投影是按分带方法各自进行投影,故各带坐标成独立系统。以中央经线(L0)投影为纵轴X,赤道投影为横轴Y,两轴交点即为各带的坐标原点。为了避免横坐标出现负值,高斯- 克吕格投影与UTM北半球投影中规定将坐标纵轴西移500公里当作起始轴,而UTM南半球投影除了将纵轴西移500公里外,横轴南移10000公里。由于高斯-克吕格投影与UTM投影每一个投影带的坐标都是对本带坐标原点的相对值,所以各带的坐标完全相同,为了区别某一坐标系统属于哪一带,通常在横轴坐标前加上带号,如(4231898m,21655933m),其中21即为带号。

0

阅读 收藏 喜欢 打印举报/Report
  

新浪BLOG意见反馈留言板 欢迎批评指正

新浪简介 | About Sina | 广告服务 | 联系我们 | 招聘信息 | 网站律师 | SINA English | 产品答疑

新浪公司 版权所有